福特汽车获得新专利 未来或能调整车辆在赛道上的功率水平
车域奇点讯 据外媒报道,福特汽车公司(Ford Motor)已为功率水平调节方法和系统申请了专利,且未来可能用于福特汽车。该专利于2021年12月9日提交,于2024年8月20日公布,分配序列号为12065123。
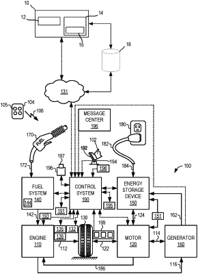
(图片来源:USPTO)
车域奇点讯 据外媒报道,福特汽车公司(Ford Motor)已为功率水平调节方法和系统申请了专利,且未来可能用于福特汽车。该专利于2021年12月9日提交,于2024年8月20日公布,分配序列号为12065123。
(图片来源:USPTO)