福特汽车设计出拖车牵引钩 在不使用时可以收起

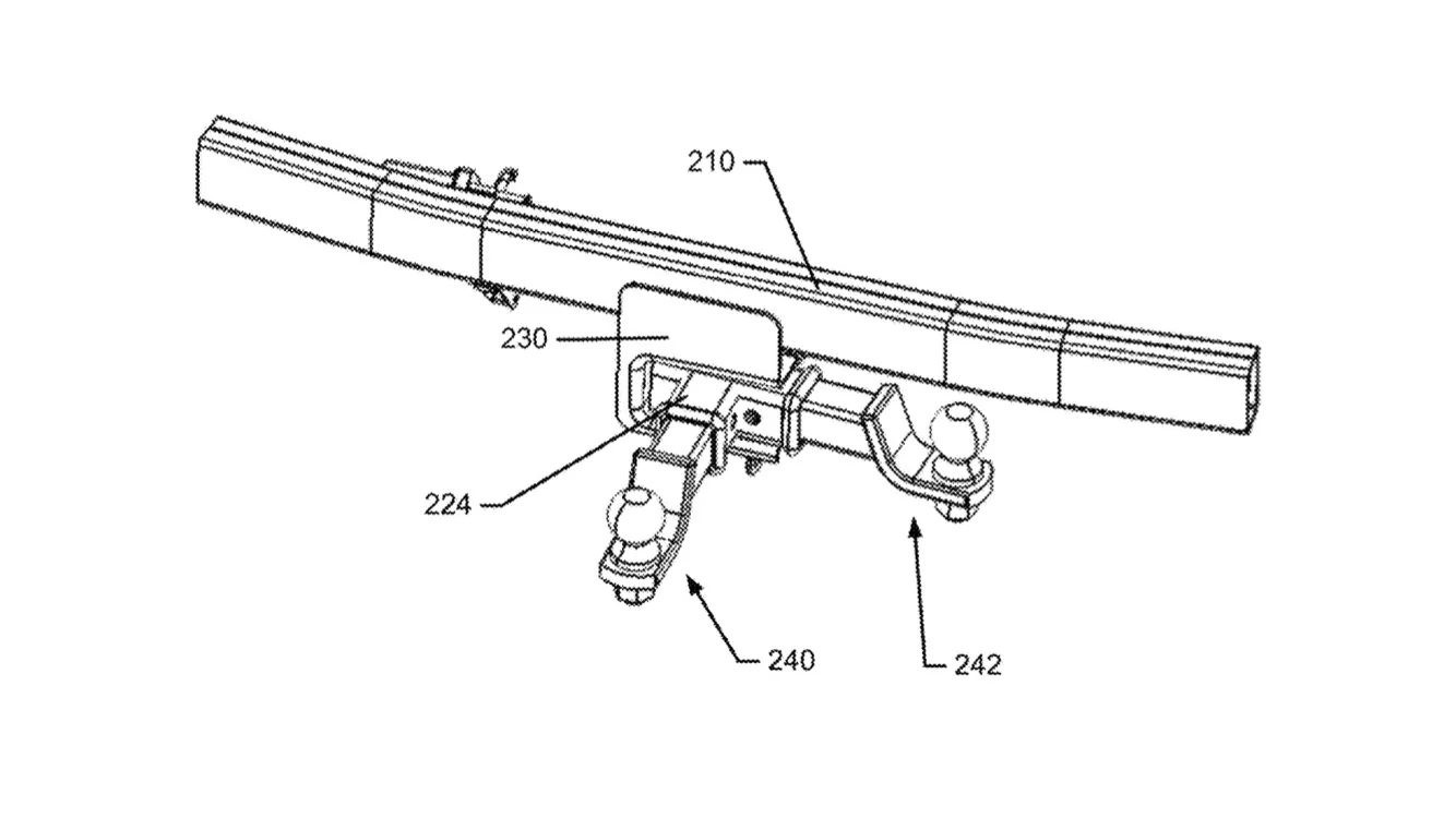
车域奇点讯 据外媒报道,福特汽车公司(Ford Motor Company)为一种在不使用时可收起的拖车牵引钩向美国专利商标局(USPTO)提交了专利申请。这种拖车牵引钩可以90度旋转,紧贴车辆的后保险杠。除此之外,它还是一个标准的带球钩的牵引装置,可用于安装自行车架等各种配件。当牵引钩不使用时则可以收回,因此不会成为人们绕过车尾时绊脚的障碍。福特表示,在车辆爬陡坡时,也不必担心牵引钩会刮擦地面。

这一设计还消除了不使用时需要拆卸拖车球和牵引钩的麻烦。因此,这也使那些经常拖车的人使用起来更加方便。固定拖车球的接收器通过销钉固定在车架上。取下销钉后,接收器就可以旋转,并通过一个锁臂将接收器固定在收起或展开的位置。

标签:

随便看看